景德鎮市寶探電子科技有限公司
手機:
15779491513
15107988229
13767853544
微信客服:
15107988229
15779491513
13767853544
QQ客服:
719432649
2331148073
2402914503
展廳地址:
景德鎮市昌江區迎賓大道中國陶瓷城
MD-3010II地下金屬探測器

MD-3010II地下金屬探測器
探測深度:2米
展示廳地址:景德鎮市昌江區迎賓大道中國陶瓷城
可隨 時上門了解查看產品0798-8212123 15107988229 15779491513
全國熱線:0798-8212123
產品介紹:
MD-3010II液晶顯示型地下金屬探測器從2000年投放國外市場起,深受國外客商好評,并迅 速打入歐美市場,從而遠銷美國,加拿大,英國,德國,法國,意大利,芬蘭,土爾其,韓國,俄羅斯等。
1.功能特點及用途:
本金屬探測器是一種數字式智能型探測器采用日本原裝富士32CPU中央處理器為核心電路來處理轉換數字信號。它具有判別力強,正確性高等顯著特點,可使被探金屬物直接顯示在液晶屏上,其直觀性更強。并可根據需要設定探測金屬種類,設定音調對探測金屬種類進行判別, 設定探測靈敏度。該產品操作簡單方便類同于手機操作。
2.產品性能:
1.電 池: 1節疊層9V電池
2.電 流: 至小~30mA
至大~60mA
3.工作電壓: 7.1~9.6v
4.信號頻率: 7.5KHz+/-1KHz
5.靈敏度: 至少13cm(試驗硬幣:25美分)
6.工作環境: -20℃~60℃
7.外形尺寸: (mm)550(長)×355(寬)×153(高)
8.毛 重: 3kg
9.凈 重: 1.37kg
感謝購買MD-3010II金屬探測器,這款高 性能設備可以幫您在任何地方探測出硬幣、金屬殘片、飾、金、銀。為了發揮產品至大性能,我們建議您花上幾分鐘認真閱讀此說明書,并保存好以便將來查閱。
3.產品功能
全自動、全金屬探測器:可探測任何金屬種類。除非您已設定非目標金屬。
目標確認:探測目標已顯示在液晶顯示屏,您可直接確定想探測到的目標。
排除非目標項:您可設定非目標金屬,使探測器對其不作反應。
顯示物體深度:除了告知探測到的物體名稱,還可顯示相對埋藏深度。
特 殊聲音識別:無須注視顯示屏,即使昏暗無光地區也能根據聲音輕松識別金屬種類。
無笨拙累贅的電線:探測盤電線(連接控制裝置和探測盤)隱藏起來,避免電線糾結以便調節軸柄的長度。
耳機插孔:可連接耳機,立體聲耳機及單音質耳機都可使用。
音量控制:可調節輸出音量。
電池電量指示器:顯示電池盒內電池電量。
防水性探測盤:方便在淺水區使用。
可調式軸柄:可調節探測器長度以方便使用。
扶手桿:消除前臂的緊張感。
電池:標準疊層9伏電池,內置直流轉換器以延長電池壽命。
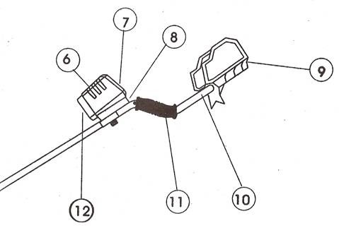
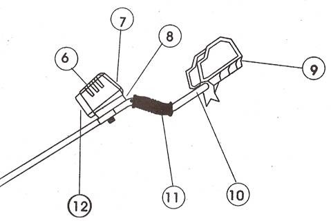
名 稱:
1. 探測盤
2.探測盤圓形螺帽
3.下軸柄
4.軸柄固定螺帽
5.上軸柄
6.控制器
7.控制面板
8.耳機插孔
9.扶手
10.扶手桿
11.把手
12.電池盒
3.1組裝探測器
無須其它特 殊工具安裝,一把小型菲力普螺絲刀即可,打開包裝后,您可進行以下操作:
3.1.1順時針旋轉軸柄的固定螺帽(4)
直至松開。
3.1.2向探測盤(1)方向滑動上軸柄
(5)(如圖中箭頭所示),直至可以
看到微型連接器插頭,抽出并用手握住
3.1.3找到扶手(11)上的微型連接器
插孔,將插頭插入,注意標注在插頭和插孔上的校準記號。
3.1.4向控制器(6)方向滑動上軸柄(5),注意卡槽應朝向控制器下方抽出。
3.1.5旋緊控制器(6)下方的圓形螺帽。
3.1.6調節下軸柄(3),確保當您手持
探測器,手臂放松置于身側站立時,探
測盤(1)與地面保持水平距離大約1/2
至2英寸。
3.1.7反方向(逆時針)旋緊軸柄固定
螺帽(4)。
3.1.8松開探測盤(1)上的圓形螺帽(2),
調整探測盤至理想角度(探測盤與地面平
行),適度旋緊螺帽。
3.1.9松開扶手(9)底部上的4個螺絲,
將其調節至手肘處,反方向旋緊螺絲。
3.2 安裝電池
需要疊層6節1.5V電池。
3.2.1按下控制面板上的POWER鍵,關閉探測器。
3.2.2滑開電池盒(12)上的電池盒蓋。
3.2.3將6節1.5V新電池裝入電池盒。注意標注在探測器和電池接觸點上的極性(+和-)必須吻合。
3.2.4合上電池蓋。
注意:
使用新電池并及時更換舊電池。
不要將新舊電池,不同型號(規格、含否堿性、是否可充電)電池,或不同容量的可充電電池混合使用。
不要為不可充電電池充電,6F22或S006P 9V電池一般為不可充電電池。
及時并正確處理舊電池。
3.3 電池電量
電池電量可根據液晶顯示屏上的電池圖標判斷。
圖標顯示4節電量時表示電池嶄新且狀態良好。
當圖標只有1節電量且閃爍時,應更換全部電池。
3.4 使用耳機
探測金屬時,請經常使用耳機,在海灘和城市等嘈雜地區尤為適用。戴上耳機后,它可通過直接將聲音傳送到耳內以加強音頻感應,您會發現使用耳機后可更清晰的聽到探測信號,且節省電量。
將耳機的1/8英寸插頭插入耳機插孔(8)以連接耳機和探測器。
注意:當連接耳機時,探測器內置聲筒將會斷開連接。
4.1 控制板
POWER:控制設備的開啟和關閉(7)。
▲:右移 ?:左移(38)
MODE:可選擇忽視或排除目標金屬,或為目標金屬設定聲音(1)。
SET:選擇功能項(2)。
LCD DISPLAY: 液晶顯示屏(5)。
4.2 液晶顯示屏
4.2.1圖標
1.靈敏度:8檔靈敏度可供調節。2.光投突出目標項:當目標金屬被選中或被探測到時,由矩形
圍住的目標金屬圖標會閃動。
3.排除目標指示:表示不想探測到目標。
4.聲音音量:4檔音量可供選擇。
5.聲音設定:為出現在顯示屏上的目標圖案設定聲音,有8種音樂可選擇。
4.3 使用說明
4.3.1正常工作狀態
按下POWER鍵開啟探測器。
顯示屏出現靈敏度,深度等圖標。
探測器進入正常工作狀態。
再次按下POWER鍵,切斷探測器電源。
4.3.2電池電量指示圖
圖標分為4段用來表示電池盒內電池狀態。
出現4段時表示電量不足,顯示1段且閃爍時,表示應更換全部電池。
4.3.3調節靈敏度
正常工作狀態下(參照4.3.1),按下SET鍵,SENS圖標閃爍。
用▲或?鍵增加或減少靈敏度。
按下PRESS鍵確認設置并返回到正常工作狀態。
注意:靈敏度分為8級。圖案顯示的級數越多,靈敏度越高。由于高靈敏度可探測到目標,所以經常被使用,但采用高靈敏度時,會遇到錯誤信號的問題(參見4.5.2),這將會防礙您啟動至高的靈敏度。錯誤信號出現時,探測目標無法正常發出聲音。這主要是由礦化反應或來自電纜、廣播電臺等的干擾引起的。一般情況下,降低靈敏度可避免過多的錯誤信號。
4.3.4排除目標項設置
在正常工作狀態下,按兩次SET鍵,目標圖案閃爍。鐵釘被閃爍的矩形圖案圈住時,表示鐵釘已被選擇。
按下MODE鍵,象征“排除”的符號“×”會出現在已選中的目標上。
使用▲或?鍵選擇想排除的目標。
再次按下MODE鍵,取消符號“×”,目標項還原。
重復以上操作,設置其它目標項。
按下ENTER鍵確認設置,返回到正常工作狀態。
4.3.5為探測目標選定聲音
正常工作狀態下,按3次SET鍵直至鐵釘被閃爍的矩形圖案圈住,并出現聲音設置圖標。
按下MODE鍵,原本的聲音將被另一個代替。有8種聲音,您可以為每個目標選擇的聲音,當目標被探測到時,會響起的聲音。
用▲或?鍵來選擇其它探測目標。
重復同樣的操作,為其它目標設置聲音。
按ENTER鍵確認設置,返回到正常工作狀態。
4.3.6設置音量
在正常工作狀態下,按4次SET鍵,聲音音量圖標閃爍。
用▲或?鍵調節音量高低。
注意: 有5檔音量可供選擇。
按ENTER鍵確認設置,返回到正常工作狀態。
4.3.7出廠設置
恢復出廠設置,可同時按下MODE和POWER鍵,探測器將重回至初的出廠設置。
4.4 試用
為了熟悉探測器對各種金屬作出的反應,一次使用前,您可以在戶內和戶外進行試用。
4.4.1戶內使用
打開探測器,此時探測器應處于正常工作狀態。
將探測器置于桌面,取下身上佩帶的金屬物品,如:手表、戒指、珠寶等。
調整探測盤,使探測面朝向天花板。
使探測物位于探測盤之上2-3英寸處,慢慢掃過探測盤,探測器會發出已為目標設置好的的聲音,液晶顯示屏上目標圖象開始閃爍。
對排除的目標重復以上操作,如:易拉環。
使易拉環位于探測盤之上慢慢掃過,可以發現探測器對于已排除的目標沒有反應。
4.4.2戶外試用
打開探測器,此時探測器應處于正常工作狀態。
在戶外找一塊沒有金屬物體的地面。
將探測目標埋在地下,目標之間應保持1-2英尺的距離。
保持探測盤與地面距離在1到2英寸之間,在探測目標埋藏處慢慢移動探測器。
當目標被探測到時,探測器會發出已為目標設置好的特 殊的聲音(參見4.3.5),液晶顯示屏上目標圖像開始閃爍。
緩慢抬起探測盤,液晶顯示屏上的深度圖標上升,這表示要找的正是此目標金屬,將探測盤返回原位,讀出目標深度。
注意:此深度圖標僅供參考。
4.5 操作建議
4.5.1 顯示屏上沒有的金屬目標項
在探測目標時,若矩形光圈從一個目標圖案跳到另一個或反過來,此探測到的目標可能不在顯示屏上或探測區為高含礦量區,降低靈敏度并再次探測可避免發生后一種情況。
4.5.2 錯誤信號
該產品靈敏度高,可探測到埋藏很深的物體,因此,無用的信號及其它阻礙物可能引起信號混亂,解決方法:只挖掘信號反復閃爍的目標,您可將探測盤位于地面上前后掃描,請留心區分偶爾閃爍的信號和持續反復閃爍的信號。
為了減少錯誤信號,可以分小片區域慢速的短距離重疊掃描。
4.5.3使用探測盤
以合適的速度移動探測盤,如行走過快,將無法重疊掃描,進而遺漏部分地區。同時,靈敏度會降低,將遺漏埋藏較深的金屬物。
使探測盤盡量貼近地面,與地面保持平行,以便擴大搜索廣度和深度。若在草坪操作,可將其輕輕貼近草坪。 (正確) (錯誤)
重疊50%的掃描區。
在一半圓區域內有步驟的搜索。記住未掃描和已掃描的區域。
4.6 操作者注意事項:
探測私人土地時應取得許可。
探測結束后應清理探測場所,保持清潔。
無論城市或郊區,探測后應將挖掘的坑洞填平,恢復原貌。
遵守探寶相關法律。
若能找到貴重財產原持有者,應將其歸還。
讓探寶活動給人留下好印象。
4.7 金屬探測器使用區域:
公園、聯邦土地、洲立公園及土地。
工程團、湖泊、海岸線及陸地。
土地管理局管轄區。
城鄉公園和公立學校場地。
14
MD-3010II無須過多維護,但請遵守以下幾點以保持其高 性能:
-若暫時閑置,請將電池取出。
-避開高溫處,如停放在太陽下的車內。
-探測盤若與地面磨擦,易磨損探測盤底部,更換探測盤的價格較高,您可以購買便宜的防撞擊滑盤,以減少磨擦。
-在雨區、霧區或灰塵區操作時,請將防水蓋蓋在控制器表面。
-MD-3010II需保持干燥清潔,在下軸柄滑入上軸柄前,請擦拭下軸柄,并確保固定螺帽時,沒有沙礫和污垢。
在新疆,內蒙,江西,南昌的一些尋寶者使用我公司地下金屬探測器,多次探得寶藏與古物,從而過上幸福富裕的生活。
在陜西,江蘇,遼寧,河北等地區一些考古先生多次探出古物,見證了我司地下金屬探測器更上新的臺階。
全國34個地區都在使用…………………….
本公司己開通全國300多個城市送貨上門服務!免去您的后顧 之憂!
注:現市面上有不少仿制我公司的劣質產品,價格比原產品低1/3左右,請廣大消費者提高警惕,以免上當。